查找项目
投标
开标
中标
招投标文件查看工具
投标文件制作工具
邀请标书费(部分)
缴纳电子保函/保证金(2选1)
缴纳中标服务费
保证金退款(如需)
打开安天智采凯发娱乐首页,点击注册按钮,根据页面提示,填写注册信息
完善企业基本信息、企业证书信息、企业资质信息、执业人员信息
因技术升级, 推荐办理安天智采移动认证基础服务,比ca锁更好用
进入安天智采网站,点击【产品与服务】-【安天智采移动认证基础服务】,根据提示完成注册办理
400-050-9988
需邮寄,到货时间不确定,若时间紧,推荐办理移动认证基础服务;
进入投标人后台 -【投标工具】下载【安天智采驱动】,配合ca锁使用。
0551-63733806
电脑登陆安天智采后台,在【投标工具】中添加移动认证/ca锁,绑定后可扫码登录安天智采。
在安天智采网站 - 【招标采购】,选择您想筛选的公告类型。
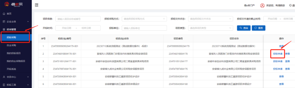
进入安天智采投标人后台 -【招采信息】-【招标采购】- 找到目标项目点击【投标申请】。
进入安天智采投标人后台 -【招采管理】-【我的投标项目】-【进入项目】-【招标文件下载】进行下载。
进入开标大厅签到,投标人须在规定的时间内,按照系统提示完成解密,若标段开启了多轮报价,需在规定时间内输入报价、上传报价单。
请使用360浏览器或谷歌浏览器进行解密。
进入投标人后台 -【招采管理】-【我的投标项目】-【进入项目】-【定标】找到中标通知书进行下载。
若没有找到中标通知书,请联系对应项目的联系人,了解具体情况。
如需帮助,可联系24小时智能客服机器人或查询服务指南。
注册审核、电子签章、投标操作:400-050-9988
招标项目信息:招标公告底部-联系业务经理
投标人增值服务:0551-63730840

电子保函
客服
3215702945 / 782454216
平台:400-050-9988
vip:0551-63730840
xinecai@ahbidding.com服务指南
建议留言
公众号

>=11